|
产品中心 |
|
|
| J-X型柱塞式计量泵 |
|
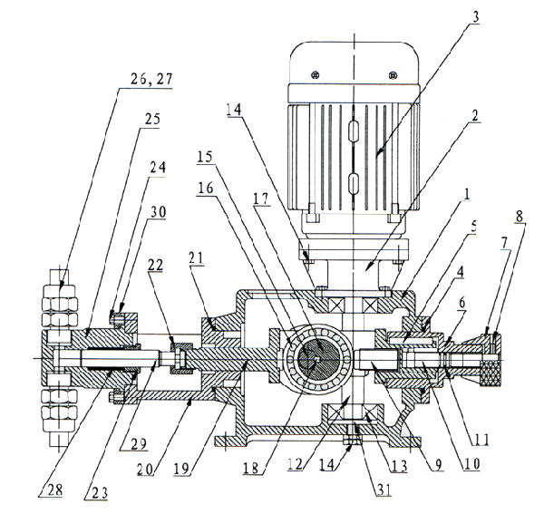
结构说明
|
序号 |
零件名称 |
序号 |
零件名称 |
序号 |
零件名称 |
序号 |
零件名称 |
|
1 |
箱体 |
9 |
调节顶杆 |
17 |
偏心轮 |
25 |
泵头 |
|
2 |
电机连接头 |
10 |
调节杆 |
18 |
健 |
26 |
单向阀 |
|
3 |
电机 |
11 |
密封件 |
19 |
顶杆 |
27 |
接管阀 |
|
4 |
密封件 |
12 |
蜗杆 |
20 |
泵头联节头 |
28 |
填料 |
|
5 |
健 |
13 |
轴承 |
21 |
密封件 |
29 |
柱塞 |
|
6 |
调节器 |
14 |
调节螺丝 |
22 |
柱塞压紧帽 |
30 |
泵头压板 |
|
7 |
手轮 |
15 |
主轴 |
23 |
填料压紧帽 |
31 |
轴承垫板 |
|
8 |
紧定螺丝钉 |
16 |
滚轮 |
24 |
螺丝 |
|
|
J-X系列柱塞式计量结构图:

上一页 [1] [2] [3] |
| |
|
| |
|
 |
 |
|
ZX型卧式自吸离心泵
|
|
|
 |
|
QBK气动双隔膜泵
|
|
|
 |
|
CQ型磁力泵
|
|
|
 |
|
IH型化工离心泵
|
|
|
 |
|
ISG型管道离心泵
|
|
|
 |
|
GDL型立式多级管道...
|
|
|
 |
|
XBD-W型卧式单级...
|
|
|
 |
|
ZW型自吸排污泵
|
|
|
 |
|
CYZ型自吸离心油泵
|
|
|
 |
|
ZB3A不锈钢转子泵
|
|
|
 |
|
XBD系列全自动(变...
|
|
|
 |
|
ISW卧式离心泵
|
|
|
|
|
|
|
|
 |
|